 |
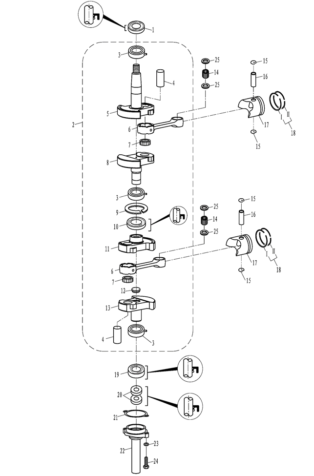
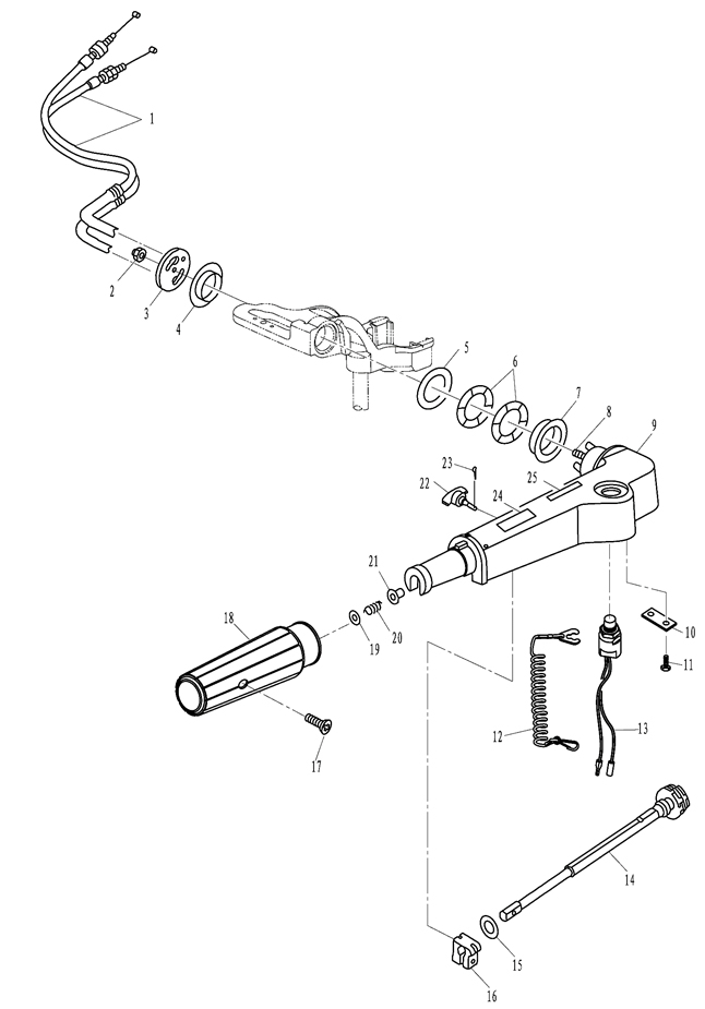
1 |
T8-03010100 |
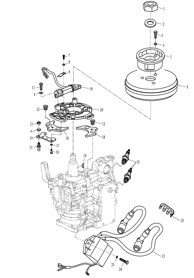
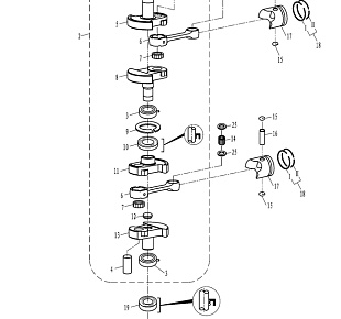
Рычаг переключения передач T8-03010100
Используется в агрегатах
|
|
|
1200 i |
|
 |
2 |
GB/T896-7 |
Стопорные кольца GB/T896-7
Используется в агрегатах
|
|
|
52 i |
|
 |
3 |
T8-03010001 |
Направляющая T8-03010001
Используется в агрегатах
|
|
|
46 i |
|
 |
4 |
T8-03010003 |
Кулачек механизма переключения хода T8-03010003
Используется в агрегатах
|
|
|
187 i |
|
 |
5 |
T8-03010002 |
Втулка T8-03010002
Используется в агрегатах
|
|
|
88 i |
|
 |
6 |
T8-03000008 |
Тяга переключения T8-03000008
Используется в агрегатах
|
|
|
250 i |
|
 |
7 |
T8-03010006 |
Ограничитель T8-03010006
Используется в агрегатах
|
|
|
157 i |
|
 |
8 |
T8-03000010 |
Соединитель T8-03000010
Используется в агрегатах
|
|
|
230 i |
|
 |
9 |
GB/T896-9 |
Стопорные кольца (99080-09600) GB/T896-9
Используется в агрегатах
|
|
|
96 i |
|
 |
10 |
T8-05000010 |
Тяга соединительная T8-05000010
Используется в агрегатах
|
|
|
101 i |
|
 |
11 |
GB/T6170-M5 |
Гайка (95380-05600) GB/T6170-M5
Используется в агрегатах
|
|
|
30 i |
|
 |
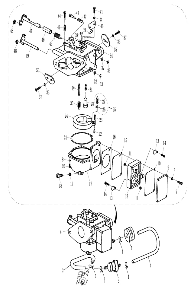
12 |
T15-04040005 |
Хомут (682-41237-00) T15-04040005
Используется в агрегатах
|
|
|
248 i |
|
 |
13 |
F25-05160002 |
Защелка F25-05160002
Используется в агрегатах
|
|
|
69 i |
|
 |
14 |
F8-01010111 |
Хомут F8-01010111
Используется в агрегатах
|
|
|
92 i |
|
 |
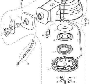
15 |
T8-05000605 |
Кулачек катушки магнето T8-05000605
Используется в агрегатах
|
|
|
250 i |
|
 |
16 |
T8-05000606 |
Кронштейн рычага T8-05000606
Используется в агрегатах
|
|
|
115 i |
|
 |
17 |
GB/T93-5 |
Пружина GB/T93-5
Используется в агрегатах
|
|
|
30 i |
|
 |
18 |
GB/T818-M5X20 |
Винт (97880-05200) GB/T818-M5x20
Используется в агрегатах
|
|
|
39 i |
|
 |
19 |
T8-05000604 |
Тяга привода T8-05000604
Используется в агрегатах
|
|
|
61 i |
|
 |
20 |
T6-05000022 |
Хомут (6J8-41262-00) T6-05000022
Используется в агрегатах
|
|
|
147 i |
|
 |
21 |
T8-05000603 |
Опора рычага T8-05000603
Используется в агрегатах
|
|
|
190 i |
|
 |
22 |
T8-05000602 |
Механизм переключения хода T8-05000602
Используется в агрегатах
|
|
|
295 i |
|
 |
23 |
T8-05000600 |
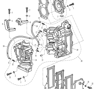
Впускной коллектор T8-05000600
Используется в агрегатах
|
|
|
2150 i |
|
 |
/ |
F8-04050000 |
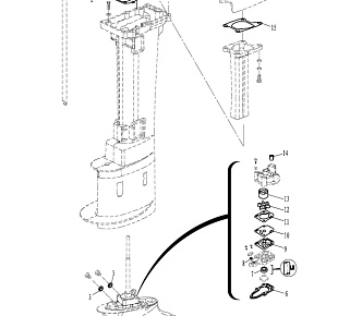
PARSUN | 3- 8.9" шаг 8,3" | F9.8/ T9,8 винт гребной | шлицов 12
Используется в агрегатах
|
|
|
2400 i |
|
 |
/ |
SK3B2B64515-1 |
Винт гребной для Парсун 8-9.8HP, диаметр 8 1/2" алюминиевый, лопастей - 3, шаг 7 1/2" | шлицов 12
Используется в агрегатах
|
|
|
3510 i |
|
 |
/ |
SK3B2W64517-1 |
Винт гребной для Парсун 8-9.8HP, диаметр 9" алюминиевый, лопастей - 3, шаг 8 1/2" | шлицов 12
Используется в агрегатах
|
|
|
3510 i |
|
 |
/ |
SK3B2B64517-0 |
Винт гребной для Парсун 8-9.8HP, диаметр 8 1/2" алюминиевый, лопастей - 3, шаг 9" | шлицов 12
Используется в агрегатах
|
|
|
4050 i |
|
 |
/ |
BPR7HS |
Свеча зажигания BPR7HS | NGK Made in Japan | T2.6C | T3.6 | F2.6 | F4 | F5 | T5 | T5.8 | T8 | T9.8 | T9.9 | T15 | T20 | T25 | T30A | T40 | T60 | T75 | T90
Используется в агрегатах
|
|
|
530 i |
|
 |
/ |
JIM109-YX |
Тахометр со счетчиком моточасов 2-х / 4-х двигателей
Используется в агрегатах
|
|
|
1250 i |
|
 |
/ |
25019 |
2-тактное масло | 1 литр | Marine Liqui Moly |
Используется в агрегатах
|
|
|
1640 i |
|
 |
/ |
25031 |
Масло для редуктора Liqui Moly | Gear Oil SAE 80W-90 | API GL-4/GL-5 | 250 мл | минеральное
Используется в агрегатах
|
|
|
850 i |
|
 |
/ |
25042 |
Смазка водостойкая, консистентная Liqui Moly | Marine Grease 250 мл
Используется в агрегатах
|
|
|
950 i |
|
 |
/ |
240-621 |
Мерная емкость для приготовления бензосмеси от 1 до 5 литров
Используется в агрегатах
|
|
|
120 i |
|
 |
/ |
F8-04000250 |
Ремкомплект помпы для лодочных моторов Parsun | T 9.8 BMS | F9.8BMS
Используется в агрегатах
|
|
|
2250 i |
|